SEG云简介
SEG云平台登录网址 www.segyun.com
华电众信SEG云,是基于云平台的一种为智慧能源网关提供远程管理和维护功能的高效管理工具。通过SEG云的远程管理服务,可以实现对分散的物联网终端及智能网关设备的在线配置、数据下载、远程诊断维护、状态监视、在线升级等操作,提高设备运维效率,方便用户随时掌控设备动态。

▲能耗在线监测系统架构
SEG云服务功能
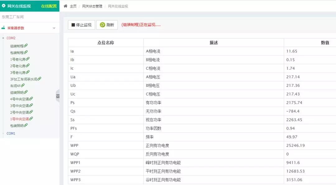
在线状态监视。SEG云平台通过在线地图和树状列表模式提供网关、仪表等终端设备在线、运行、故障等信息,并通过云邮箱将异常告警信息发送至对应企业用户邮箱,让用户第一时间掌握网关状态。
设备远程配置。登录SEG云平台,可以在线配置、修改项目信息,远程上传、下载配置参数并通过在线监视功能进行远程调试,极大提高项目开发效率及后期运维效率。
在线故障诊断。针对无法正常上传能耗数据、采集数据异常的网关,可以通过SEG云平台提取LOG日志,远程分析、诊断异常原因并将调整策略下发至网关,实现故障排除。
网关在线升级。通过SEG云平台实现对网关核心应用程序的快速迭代升级,提供包括新增功能、修复BUG等操作。
安全操作规范。SEG云平台设计了一套完整的用户管理及操作安全策略,确保远程操作指令的正确下发,并通过项目信息快照备份等方式实现数据可靠管理。
SEG云邮箱。所有注册企业用户分配一个2G容量的免费云邮箱,重要操作信息及在线监测异常信息,均可以通过云邮箱第一时间发邮件给用户。
SEG云平台操作界面

▲登录界面

▲网关管理

▲在线配置

▲在线监视
SEG云移动端应用
扫描下方二维码,关注华电众信公众号即可直接访问SEG云移动应用(无需下载APP)。

▲SEG云移动端应用二维码
获取SEG云平台服务
任何购买SEG系列网关产品的用户都可以通过网关配置工具软件将远程维护功能开启,并指向该云平台,便可以通过SEG云平台实现远程配置及设备在线管理。登录云平台的企业账号请联系销售工程师索取。